摘 要:以核桃壳为原料,经过炭化、活化处理,结合三甲基氧基苯基硅烷的改性制备了可再生活性炭,并研究了其吸附环境空气中挥发性有机物的能力。试验结果显示,环境空气中挥发性有机物经过吸附后剩余量均未超过标准范围,对环境空气中挥发性物质吸附量较大;起始温度、升温条件下乙酸丁酯的气相色谱柱数值均最低,分别为 5mV.1.5mV ,对二甲苯和间二甲苯气相色谱柱数值均最高,分别为 19mV.11mV ;升温条件下可再生活性炭吸附孔隙比起始温度条件下孔隙要大,且具有较强的吸附能力。
摘 要:硅酮结构密封胶应用在高层、超高层建筑的玻璃幕墙板块上,对较大板块的胶缝宽度超出JGJ102规范的设计要求。在安全系数不变的情况下,提高最大拉伸强度从而提高设计强度来减少胶层宽度方案的可行性,需考虑硅酮结构密封胶的耐老化性能和耐久性。本文通过应力循环疲劳试验验证结构胶的耐久性,选取6种最大拉伸粘接强度与最大拉伸粘接强度时的伸长率的硅酮结构密封胶进行疲劳循环试验,研究不同拉伸粘接强度,不同频率和不同设计强度下的硅酮结构密封胶的耐疲劳性能。研究表明,设计强度是影响结构胶耐疲劳性能的关键因素;最大拉伸粘接强度与疲劳设计强度没有直接对应关系,提高最大拉伸粘接强度不等同于可以提高设计强度值;频率不是影响疲劳寿命的主要因素。
摘 要:为提高档案装订的牢固和耐久性,以木薯淀粉为主要原料,次氯酸钠为氧化剂,六偏磷酸钠为交联剂,氢氧化钠为糊化剂制备了一种新型档案装订用改性胶粘剂,试验首先对制备条件进行优化,然后对改性胶粘剂的基础性能进行分析。结果表明,当纳米结晶纤维素用量为 4% ,氧化 pH 值为9,次氯酸钠用量为12% ,六偏磷酸钠用量为 1.2% ,交联 pH 值为10,交联温度为 45°C ,糊化氢氧化钠用量为 9% ,改性胶粘剂黏度为 1544MPa?s ,吸水量为 2.7g/m2 ,白度为 87.3% ,平滑度为 67.7% ,光泽度 74.2% ,透气度为 21.7μm/Pa?s ,干拉毛强度为 2.88m/s ,Cobb值为 16.5g/m2 ,表现出良好的基础性能,可以在档案牢固中发挥作用。
摘 要:为进一步提升泡沫混凝土的力学性能以及应用效果,通过复掺纳米 SiO2 和矿粉制备一种轻质高强泡沫混凝土,并对其抗压强度和影响效果进行详细分析。结果表明,与普通泡沫混凝土相比,单掺 2kg 纳米 SiO2 时的泡沫混凝土抗压强度为 1.33MPa ,提升了 34.3% ;与普通泡沫混凝土相比,单掺 60kg 矿渣时混凝土抗压强度为 1.18MPa ,提升了 19.2% ;复掺 2kg 纳米 SiO2 和 60kg 矿粉的泡沫混凝土的抗压强度为 1.33MPa ,提升了34.3% ;水胶比为0.5时,轻质高强泡沫混凝土的抗压强度最佳。将制备的轻质高强泡沫混凝土应用于铁路灾害治理支挡结构的制备时,对应的铁路陡坡路基最大沉降值为 5.90mm ,相比于普通泡沫混凝土降低了 38.7% 。综上,轻质高强泡沫混凝土抗压强度良好,应用于铁路灾害治理时效果良好,能够有效缓解路基沉降。
摘 要:针对传统混凝土修复材料粘合结构性能差的问题,提出一种新型聚脲环氧修复砂浆的制备。试验首先对修复砂浆的配比进行优化,然后对修复砂浆性能进行研究,最后考察了修复砂浆对混凝土的修复效果。结果表明,聚脲环氧修复砂浆最佳配比为,聚脲用量为 16% ,环氧树脂用量为 12% ,胶固比为1∶2.0,此配比制备的修复砂浆稳定时间约为 60min ,与混凝土界面粘结强度约为 8.2MPa 。在修补材料和环氧界面剂共同作用下,修补混凝土抗压强度恢复至原来的 92.8% ,抗折强度恢复至原来的 91.7% ,修复后混凝土强度达到JC/T 2381—2016《修补砂浆》中对修补砂浆的刚度要求。
摘 要:悬浮颗粒的沉积会导致管道内径的减小,降低排水能力,研究颗粒沉积冲刷特性对提高城市排水系统的安全性和可持续性具有重要意义。采用试验的方法研究了不同因素对排水管道颗粒物沉积量的影响规律。结果表明,随着水流流量的增加,管道内颗粒物沉积量先缓慢下降后快速下降,主要与水流携带能力和流动稳定性有关。随着颗粒物粒径的增大,管道颗粒物沉积量先快速升高后升高速度变缓,主要与颗粒物重力和悬浮力有关。随着颗粒物质量浓度的增加,颗粒物沉积量先缓慢升高后快速升高,主要与颗粒物数量和分散程度有关。随着颗粒物相对密度的增加,颗粒物沉积量由缓慢升高转变为快速升高再到缓慢升高,主要与颗粒物重力有关。
摘 要:在桥梁工程领域,铺装层的力学性能是确保桥梁结构安全和耐久性的关键因素之一。针对 GA-10+ 高弹性SMA-10组合铺装层的研究,本文通过ABAQUS构建“钢桥面板—铺装层”结构的三维实体模型,模拟了钢桥面板与 GA-10+SMA-10 组合铺装层的相互作用,对其进行结构力学分析。通过分析 GA-10+SMA-10 组合铺装层在横桥向以及纵桥向受不同轮载位置影响下的铺装层的拉、剪应力、铺装层顶最大位移,确定最不利荷载位置,结果表明:(1)最不利荷载位置为相邻梯形加劲肋中间、相邻横隔板跨中处;(2)GA-10+SMA-10组合铺装层具有较强的抗剪切抗、形变能力;(3)GA-10+SMA-10组合铺装层在最不利荷载条件下的最大位移得到了有效控制,此种结构具有良好的稳定性和耐久性。
摘 要:研究了不同黏度端乙烯基硅油、硅氢基(Si-H)/乙烯基(Vi)摩尔比、MQ硅树脂用量及不同气相二氧化硅用量和改性剂对CIPG 密封胶产品性能的影响。结果表明,当端乙烯基硅油的黏度为 20 000MPa?s ,Si-H/Vi比值为1.4∶1,MQ硅树脂用量为15份时,材料具有较优的性能,以四甲基二乙烯基二硅氮烷作为气相二氧化硅改性剂的密封胶性能更优,且具有更大的填充量。耐热老化 1000h 后,CIPG密封胶仍具有较好的强度、伸长率和回弹性,可以确保长期使用的密封可靠性。
摘 要:分别制备了单双组分水性氯丁胶粘剂,探讨了双组分水性氯丁胶粘剂中主剂(A 组分)与固化剂(B组分)的配伍比对其剥离强度的影响。并对单双组分水性氯丁胶粘剂的性能进行比较分析。结果表明,当双组分水性氯丁胶粘剂的配伍比为氯丁胶乳(A组分)∶固化剂(B组分) =3:1 时,双组分水性氯丁胶粘剂的性能最优。单组分水性氯丁胶粘剂由于水的挥发速度比有机溶剂低,喷涂在高密度海绵上后,单组分水性氯丁胶粘剂干燥所需要的时间较长,而双组分水性氯丁胶粘剂由于固化剂(B 组分)的加入,所以大大缩短了双组分水性氯丁胶粘剂的固化时间。双组分水性氯丁胶粘剂的喷涂和粘接效果也优于单组分水性氯丁胶粘剂。
摘 要:为了提升数字雕刻用绿色涂料的电磁屏蔽性能,采用石墨烯对苯丙乳液进行了改性处理并制备了石墨烯改性苯丙乳液制备得到的涂料,对比分析了改性前和改性后涂料的结构、显微形貌、热稳定性和电磁屏蔽性能。结果表明,改性涂料在涂刷过程中刷涂无障碍、耐冻融3 次循环未变质、透水性为0.28 mL,符合T/CNCIA 01004—2017《水性石墨烯电磁屏蔽建筑涂料》标准。原始涂料和改性涂料都出现了碳酸钙衍射峰,且改性涂料整体呈现层层堆叠的形态,具有较高的结晶性。原始涂料和改性涂料的热稳定性相当。在稳定阶段,改性涂料的电磁屏蔽效能值越为23.04 dB,原始涂料的电磁屏蔽效能值为3.88 dB,改性涂料的电磁屏蔽效能值都高于原始涂料。改性涂料不会改变原始涂料的热稳定性和常规性能,而电磁屏蔽性能有明显提升,适宜于在具有电磁屏蔽需求的数字雕刻涂料中应用。
摘 要:通过 FTIR 跟踪方法,研究了中低温条件下,模型物十二烷基氰酸苯酯与苯基缩水甘油醚的共聚反应过程,并通过内标法对各官能团相对浓度随时间的变化情况进行表征。结果表明,在100 ℃无催化剂条件下,氰酸酯与环氧树脂基本不发生反应,氰酸酯自聚亦很难发生;在150 ℃条件下,氰酸酯与环氧树脂的共聚反应过程分为2条路线,一是氰酸酯官能团与环氧官能团直接发生的共聚反应,生成恶唑啉并全部重排为第1种恶唑烷酮结构;二是氰酸酯自聚为三嗪结构后,与环氧树脂发生的插入共聚-重排-开环共聚反应,生成异氰脲酸酯与第2种恶唑烷酮结构。该反应过程中无论是否有催化剂参与,反应路线不会发生变化,仅对最终产物中各组分比例产生影响。
摘 要:互为支撑全玻璃幕墙施工技术研究依托于北京城市副中心图书馆幕墙项目,该项目为城市副中心未来地标性建筑,是国内已知高度最高、单块玻璃最重的互为支撑全玻璃幕墙。对互为支撑全玻璃幕墙施工技术的设计重点、技术难点、施工方案等进行重点介绍。结果表明,通过施工方案的优化,有效确保了工程质量,取得了良好的效果,可为类似工程提供有益的借鉴和参考。
摘 要:针对传统超声凝胶材料抗脱水能力差的问题,提出一种聚丙烯酰胺水凝胶耦合剂材料。试验首先介绍了聚丙烯酰胺水凝胶的配比优化情况,然后对水凝胶性能进行分析,最后对临床应用效果进行研究。结果表明,当玉竹提取液用量为 9% ,单体与引发剂配比为8∶1 时,聚丙烯酰胺水凝胶耦合剂声阻抗为15.7×106Pa?s?m-1 ,无细胞毒性和皮肤致敏性, 48h 内脱水率低于 5% 。用于临床应用时,在耦合剂用量、检查用时与图像清晰度评分方面均表现出明显优势,具备较好的B超成像效果。
摘 要:作为主要结构为Si—O—Si的杂链橡胶,有机硅具备许多优异的物理化学性能,比如:耐高低温、无毒害、耐候以及生理惰性等,其被广泛地应用于医疗、电子电气设备制造、建筑、化工乃至军事和航空航天领域。然而,随着时代发展,科技进步对于有机硅材料的各项性能的要求也日益严苛,这也导致了眼下传统的有机硅材料无法满足各项领域的要求。因此,有机硅材料的各项性能也亟待优化改进。围绕其耐高温性能的改进,概述了其当前改进的研究工作,并对其未来应用以及发展进行展望。
摘 要:对纤维再生混凝土进行了室温和高温( )处理,对比分析了室温和高温处理后纤维再生混凝土的外观形貌、质量损失率、抗压强度和劈裂抗拉强度。结果表明,从室温至 775°C 高温,纤维再生混凝土会从黑灰色转变为灰白色。随着温度逐渐升高,纤维再生混凝土的质量损失率呈现逐渐增大的趋势,在温度为 时纤维再生混凝土的质量损失率达到 8.67% 。除 175°C,375°C 高温处理后纤维再生混凝土的平均抗压强度会相较室温下纤维再生混凝土试件升高外,其余高温处理后纤维再生混凝土试件的平均抗压强度都会减小。高温处理后纤维再生混凝土的平均劈裂抗拉强度会相较室温下纤维再生混凝土试件减小,且温度升高会使得平均劈裂抗拉强度减小。
摘 要:本文以聚丙烯纤维及玄武岩纤维作为外加剂,将其掺入至混凝土中,以提高混凝土的力学性能。具体的,以 2% 的聚丙烯纤维、 .2% 的玄武岩纤维及 1% 的聚丙烯纤维 +1% 的玄武岩纤维掺入至基准混凝土,分析在自然环境、腐蚀环境、高温环境及腐蚀-高温耦合环境下纤维与混凝土抗压强度的影响。结果表明,纤维的掺入能够明显提高混凝土的抗压强度,甚至提高混凝土一个强度等级;腐蚀作用对混凝土抗压强度有一定的影响,对比2种纤维来说,玄武岩纤维对混凝土性能提升的效果要优于聚丙烯纤维混凝土;高温作用对混凝土性能影响非常明显,纤维的掺入能够保持基准混凝土的强度等级;腐蚀-高温耦合环境下,基准混凝土及单纤维混凝土的强度等级都迅速下降,而混掺纤维能够保持基准混凝土的强度等级。因此,建议在复杂环境下,在混凝土中混掺 1% 的聚丙烯纤维和 1% 的玄武岩纤维。
摘 要:通过对砖混类再生骨料性能特征的深入分析,揭示了传统天然骨料及废旧混凝土再生骨料之间的差异性,明确了其性能指标及其变化规律。聚焦水泥稳定砖混类再生骨料配合比的优化设计,合理控制水泥用量、水灰比以及加入适量减水剂,结合混凝土抗压强度、劈裂强度及抗折强度等试验,可有效提升砖混类再生骨料水泥稳定混合料的力学性能,使其达到与天然骨料混合料相当的水平,为实际工程应用提供了科学指导。结果表明,合理设计的砖混类再生骨料混凝土配合比,不仅能满足道路工程的基本性能要求,还具有一定的环境与经济效益,为资源循环利用和可持续交通基础设施建设提供了新思路。
摘 要:为评价不同纤维在沥青混合料中的最佳掺量,分析纤维对沥青混合料相关性能影响,选用不同纤维及AC-20C混合料进行研究。通过对不同纤维种类、不同纤维掺量的混合料开展配合比设计及相关路用性能试验得出,不同纤维随着掺量的增加大,混合料最佳油石比均呈现逐渐增加的趋势,其中掺聚酯纤维混合料最佳油石比增幅最大;三种纤维随着掺量的增大,AC-20C混合料高低温及水稳定性能试验结果均先升高后降低,玄武岩纤维掺量为 0.4% 、玻璃纤维、聚酯纤维掺量为 0.3% 时,高温稳定性最优,玄武岩纤维、玻璃纤维掺量为 0.4% 、聚酯纤维掺量为 0.3% 时,低温抗裂性最优,三种纤维掺量为 0.3%~0.4% 时,水稳定性最优。
摘 要:使用超细粉煤灰制备轻骨料混凝土,结合干湿循环试验,研究其对混凝土抗腐蚀性能。借助SEM电镜观察腐蚀过程,试验结果表明:用超细粉煤灰配制的轻骨料混凝土,在其质量含量为 3%.5%.7% 的 Na2SO4 溶液时,其耐腐蚀性最大值分别为 97%.85%.80% ;在干湿循环次数达到50次时,混凝土骨料开始出现明显的分离现象。原本紧密结合的骨料颗粒逐渐失去了粘结力,导致边角部分出现了脱落现象; 7% 质量分数的Na2SO4 溶液会威胁混凝土整体强度和耐久性,在其表面出现裂缝和剥落点。由此解释了粉煤灰提高轻骨料混凝土抗腐蚀的作用机理,为混凝土在工程应用提供参考。
摘 要:通过对特定行业(表面涂装)企业进行调研和VOCs 采样检测,分析了企业的VOCs 排放特征及低VOCs含量原辅材料替代的环境与健康效益。结果表明:企业排放VOCs以芳香烃为主,替代后车间及有组织废气处理前后的总VOCs排放浓度分别为替代前的6.8%、4.7%和12.0%,VOCs臭氧生成潜势分别为替代前的7.1%、5.2%和15.0%;低VOCs含量原辅材料替代对环境存在一定的正面效益,替代前应优先控制芳香烃,替代后应优先控制含氧VOCs;替代前后均存在非致癌风险和致癌风险,且开展源头替代后不一定具有正面健康效益,故无论替代与否均需加强职业健康安全风险控制。
摘 要:本文全面探讨了交通工程中新型材料和结构设计的应用及其在提高道路安全性、耐用性和环境可持续性方面的作用。文章分析了多孔沥青、自修复沥青和高性能混凝土等新型材料的特性及其应用案例。同时,探讨了模块化设计、绿色设计等创新结构设计方法,并评估了这些技术的综合应用及面临的实践挑战。最后,论文提出了未来研究的方向,包括持续的技术创新、跨学科合作、长期性能评估以及政策和标准的制定。
摘 要:为了提升煤矿井下环境中纤维增强复合材料的摩擦磨损性能,研究了碳纤维质量分数对煤矿用碳纤维聚氨酯复合材料在干摩擦磨损、水润滑摩擦磨损和重载摩擦磨损条件下的耐磨性能,并分析了不同碳纤维质量分数下碳纤维聚氨酯复合材料的化学结构。结果表明,不同碳纤维含量的碳纤维聚氨酯复合材料中的-NCO已发生充分反应,碳纤维聚氨酯复合材料中碳纤维含量的变化并不会改变复合材料的化学结构。随着碳纤维聚氨酯复合材料中碳纤维含量升高,干摩擦磨损、水润滑摩擦磨损和重载摩擦磨损条件下碳纤维聚氨酯复合材料的磨损率和平均摩擦系数都表现为逐渐增大,相同碳纤维质量分数下,水润滑摩擦磨损的磨损率和平均摩擦系数最小,重载摩擦磨损的磨损率和平均摩擦系数最大。
摘 要:为提高高速公路桥梁混凝土护栏的安全稳定性,延长其服役寿命,本试验以碳纳米管、水性环氧乳液和液态丁苯橡胶为主要原料,制备了一种复合涂层材料,并分析了液态丁苯橡胶质量掺量对复合涂层性能的影响。试验结果表明,当复合涂层中液态丁苯橡胶掺量增多时,涂层硬度下降,力学性能和耐冲蚀性能均先升后降。当液态丁苯橡胶质量掺量为 3% 时,复合涂层在冲蚀试验中质量损失量最小,为 0.002g ,耐冲蚀性能最佳。此时,材料硬度等级为H,拉伸强度为 46.82MPa ,拉伸断裂伸长率为 8.16% ,且该复合涂层表现出良好的耐老化性能。综上,质量掺量为的 3% 液态丁苯橡胶复合涂层具有良好的硬度、力学性能和耐久性,可在桥梁混凝土护栏钢结构保护应用中值得推广。
摘 要:本文介绍了飞行器上先进材料的应用,并对材料在制备过程中的成形技术进行了探讨。分析了钛合金、铝锂合金、高温合金和复合材料在航空航天等飞行器领域的应用,并探究了飞行器领域中的先进成形技术,包括高能束流焊接技术、高能束流增材技术、超塑性成形/扩散连接技术和旋压成形技术等。
摘 要:本文通过圆筒扭转试验,测试了不同密度高聚物材料在不同冻融循环次数下的剪切强度,对剪切强度、密度、冻融循环次数进行非线性曲面拟合,采用扫描电子显微镜揭示了冻融循环对高聚物材料泡孔的损伤机理。结果表明:对于相同密度高聚物材料,随着冻融循环次数的增加,抗剪强度不断降低;高聚物材料抗剪冻融损伤度随着冻融循环次数的增加而不断增大;冻融循环后高聚物材料抗剪强度的降低,本质上是高聚物材料在冻融循环作用下泡孔产生了破损,进而导致剪切强度的降低。
摘 要:为提高呼吸机导管材料的性能和抗菌能力,提出一种亲水性和抗菌性的导管材料,并对导管材料的性能和临床应用效果进行探究。结果表明,当TEOS/KH560/MTES/Ag-TiO2的配比为15/6/1/1时,其稳定性、硬度和附着力达到最优,且导管的透光性最低;当TEOS/KH560/MTES/Ag-TiO2的浓度为 1% ,可消灭全部细菌;临床应用表明,采用本试验的修饰导管的抗菌性能,其平均菌落数较低,效果显著。
摘 要:在法规认证试验中,基于计算或测量的载荷谱的变速器试验是评价齿轮轴和同步器性能是否合格的重要试验。同步器在换挡过程中承担传递扭矩,消除转速差的作用,是变速器最关键的零部件之一。针对某型号变速箱齿毂在试验过程中断裂失效现象,借助CAE分析仿真软件,从齿毂齿套的角度阐述,为失效的原因分析和方案优化提供了依据。结果表明,通过优化齿毂材料和减薄齿毂齿面2种方案均可满足变速器齿毂的各项性能,实现顺利挂挡和传递扭矩。
摘 要:为提高飞机机舱内高分子材料的防火性能,减少高分子材料在燃烧过程中所释放的毒性气体。本研究以无水乙醇、酸性硅溶胶为主要材料,通过水解共混法制备出了一种高分子复合防火材料,并通过力学性能测试的方式在四乙基氢氧化铵、1,8-二氮杂双环[5.4.0]十一碳-7-烯、盐酸胍、五水合四甲基氢氧化铵、乙酰丙酮铝等5种材料中确定了该材料的最优催化剂与最佳添加比例。经试验发现,五水合四甲基氢氧化铵是本次研究中高分子防火材料的最优催化剂,最佳添加量为 0.5% 。该状况下复合材料的物理性能最为理想,在燃烧过程中未出现滴落物,且整个体系在燃烧过程中所释放的毒性气体浓度最低,具有一定的应用价值。
摘 要:碳纤维复合材料与混凝土之间的粘结性能会影响加固效果,同时,考虑到劣化层侵蚀作用,提出碳纤维复合材料在加固混凝土桥梁中的应用研究。处理桥梁混凝土基底,具体包括劣化层清理、裂缝填补等操作,采用具有抗腐蚀性能的三维碳纤维复合板,以环氧树脂作为底胶的主要成分,对底胶配比进行调和。通过分阶段施加张拉应力的方式,对碳纤维板进行张拉处理,并将张拉完的碳纤维板铺设在混凝土桥梁的加固区域,加固混凝土桥梁桥面结构。应用结果表明,对桥面进行加固后,桥梁结构承载力明显提升,具备较为理想的加固效果。
摘 要:为研究岩溶区不同石漠等级土壤-凋落物-植物碳氮磷生态化计量特征,对不同石漠等级土壤、凋落物、植物进行分析C、N、P 及C/N、C/P、N/P 生态化学计量比,并研究土壤、凋落物、植物C、N、P、C/N、C/P、N/P相关性。结果表明,岩溶区C、N、P元素均值分别为 36.43g/kg?1.42g/kg?1.205g/kg 。通过相关性分析土壤碳氮比与土壤磷极显著负相关,凋落物碳氮比与凋落物氮显著负相关,凋落物碳磷比与土壤磷极显著负相关,与土壤碳氮比极显著正相关。综上所述,可在中度石漠化地区适当播撒氮肥,在增快植物生长的同时也可提高凋落物和土壤的分解速度,为岩溶石漠化地区植被恢复提供保障。
摘 要:对传统火力发电机组面临复杂的发电新形势,导致机组运行工况多变且不稳定,从而造成脱硝SCR入口速度场、浓度场等边界条件的不稳定问题。提出对脱硝进行流场重新校核,对喷氨格栅分区调平优化调整,应用多点测量和总量控制策略与分区控制策略等方法,对燃煤发电机组进行超低排放改造。结果表明,改造后,有效减少了局部氨量过喷与整体氨逃逸,降低了氨耗量,对保障机组的安全、稳定运行具有积极作用。
摘 要:在核工业发展中,产生大量放射性废水,传统处理技术存在诸多问题。一种非接触式膜蒸馏技术借助疏水性微孔膜两侧蒸汽压力差为驱动力进行膜分离,具有装置简单、操作条件温和、净化效果好等优点。本研究旨在探索非接触式膜蒸馏处理低水平放射性废水的优化方案及发展前景。从膜材料选择、系统设计和操作参数优化等角度进行优化方案探索,并对其发展前景进行分析。非接触式膜蒸馏技术在核电站及核工业其他场景中表现出良好的净化效果与可持续性,为低水平放射性废水处理提供了高效、可靠的方法,具有广阔的应用前景和发展潜力。
摘 要:为了提高煤矿综采机械设备的运行效率,降低金属设备腐蚀的危害程度,需要针对煤矿综采机械设备腐蚀防护技术开展相应的研究。对比评价了不同温度、腐蚀介质矿化度和 pH 值条件下添加复合型缓蚀剂FHS-101和防腐涂层对煤矿综采设备钢材腐蚀防护效果的影响。结果表明:腐蚀温度越高以及腐蚀介质的矿化度越高,2种防腐技术措施的缓蚀效率则相对就越低;而腐蚀介质的pH值越高,2种腐蚀防护技术措施的缓蚀效率则相对就越高。在相同的实验条件下,采用防腐涂层的腐蚀防护效果要优于添加缓蚀剂。
摘 要:水平井在开发过程中含水率上升速度快,严重影响了油田开发效率。本文分析了水平井筒流体特征与地层产液剖面影响关系,探索性的介绍了一种通过安装于井筒筛管“EACV + POV”阀组的控流装置,在生产过程中实现局部自动关闭径向汇流功能。经自动调整效果验证表明:该技术可实现水平井井筒产液剖面结构调整、抑制水锥、高速水流通道持续发育;实现‘防水于未然’的开发效果;降低水平油井的含水率,提高水平井油藏开发综合采收率。
摘 要:轴承是煤矿设备的核心零部件,特殊的服役环境导致其故障率高,进而影响企业的生产效率。传统煤矿轴承的故障特征识别准确率低,抗噪性能差,对故障发现不及时,给企业造成巨大的经济损失。结合长短期记忆网络在处理与预测时间序列上的优势以及卷积神经网络在捕捉数据局部特征上的优势,提出了基于CNN-LSTM 的煤矿轴承设备故障特征识别模型。试验数据结果表明,所提出的模型相对于LSTM 模型、CNN模型具有更高的轴承故障特征识别准确率,同时故障特征识别模型的抗噪性能良好。这对煤矿轴承设备故障特征识别,降低煤矿设备故障率具有一定的实际应用价值。
摘 要:为提高输电线路巡检效率,以四旋翼无人机为研究对象,提出一种基于无人机技术的输电线路巡检跟踪控制方法。方法以无人机在有限时间内受速度限制跟踪期望轨迹飞行为控制目标,通过设计有限时间内位置控制器对无人机进行控制,实现了无人机对输电线路的巡检跟踪。仿真结果表明,所提方法可控制无人机在有限时间内对期望位置轨迹的跟踪,进而实现无人机对输电线路水平路径巡检和输电线路的跟踪巡检,以及对异物中断的输电线路跟踪巡检,有效率达到 90% ,基本满足输电线路巡检跟踪需求,具有一定的有效性和实际应用效果,有效提高了输电线路的巡检效率。
摘 要:随着科学技术的快速发展,作业规范管控的要求越来越高,为了规范现场作业的制度,提高作业管控流程,建立新型安全管理方案,完善安全监管体系。本文通过随机森林算法的检测违章行为,设计人脸识别技术实现工作票智能管理方法,并利用OCR识别技术自动识别审核工作票,实现运行操作全过程监控、工作票票面文字图像自动识别、现场人员违章动作自动识别算法,实时、自动、准确获取违章信息数据,结果表明,本研究实现了多元数据融合技术的安全违章自动感知体系。本项目的研究结果将为智能安全监管体系的研发与应用奠定理论基础。
摘 要:分布式的新能源发电备受人们青睐。但这些分布式新能源发电具有间歇性和随机性特点,对传统集中式电源调度管理系统的安全性和稳定性造成了很大的隐患。为能够有效解决分布式电源的随意性,相关研究人员提出了“微网”的概念,通过将新能源发电、储能装置、控制装置、相关负荷等汇集组成单一可控的发配电系统。而微网中的储能系统在满足自身容量需求的同时,还要满足紧急功率输送时尖峰功率的要求,这就需要对分布式储能系统的功率输出做合理的控制分配。结果表明,通过提出的“微网”概念,生成一种基于一致性算法的储能系统功率协调控制方法,通过构建一致性分层算法达到协调控制储能系统输出功率的策略。
摘 要:针对识别表间关联关系困难且识别准确率低等问题。设计一种基于人工智能的数据表间关联关系自动识别方案。该方案首先采用傅里叶频谱变换技术对数据表进行预处理,并由HR-net神经网络实现数据表结构的识别。然后利用BERT模型提取表格文本文字和语义,采用融合多头注意力机制的LSTM模型归纳各表格的语义。最后用动态关联网络实现不同数据表间的概括语义对比,完成表间的关联关系的自动识别。实验表明,该方案在文字识别、语义预测和表间关系的自动识别中均具有较强性能。
摘 要:为研究边坡下推力对边坡桥梁桩基的影响规律,本文依托西南山区某桥梁工程,通过室内模型试验,系统研究了边坡下推力对桥梁桩基的影响,从土压力、弯矩以及变形等角度揭示桥梁基础与抗滑桩的相互作用机理。数据模拟实验结果表明:(1)边坡的下推力主要由最左侧的桥梁桩基承担,当荷载传递至最右侧时,桩基土压力会产生较为明显的“衰减效应”;(2)桥梁桩基和抗滑桩的土压力在靠近滑动面附近几乎为0kPa ,而弯矩在滑动面附近存在最大值;(3)水平位移的最大值发生在桥梁桩基的顶部,抗滑桩的水平位移较小;(4)抗滑桩对改善桥梁桩基的受力和变形作用有限。研究成果可为边坡桥梁工程的设计和施工提供科学依据和技术支撑。
摘要:核电站混凝土构筑物的完整性检查对于安全运营至关重要。常规的人工检查方法存在效率低、部分区域不可达、数据不完整等问题。本研究基于深度学习的分类图像识别技术,结合四旋翼无人机,研究并实现了核电站混凝土结构表面缺陷的自动识别及数据分析系统。实验结果表明,该系统能够准确识别混凝土表面的常见缺陷,并能快速检查混凝土构筑物,为核电厂安全的长期维护策略提供参考。
摘 要:为了提升桥梁桩基的使用寿命与稳定性,针对横向位移作用下桥梁桩基变形展开分析,并设计了桥梁桩基加固处理技术。构建桩基有限元模型,计算并分析横向位移作用下桥梁桩基弯矩和位移变形。在确定变形情况后,使用聚氨酯粉煤灰加固叠加隔离桩防护加固综合加固桩基,并分析加固后桩基在横向位移作用下的弯矩、位移、延性系数以及承载力变化。结果显示:在加固处理后,桩基弯矩和位移均出现明显降低,桩基延性系数与承载力均出现明显上升,桩基的稳定性明显提升。
摘 要:为提高绿色环保材料的公寓式住宅建筑平面智能设计效率,提出一种基于公寓房间相邻关系自动生成平面图的框架,通过一组语法规则使用图文法形式从用户指定的绿色环保设计要求生成公寓户型平面布置方案。该解决方案克服以前只能生成矩形平面图的局限性,对绿色环保材料建筑平面尺寸、房间方向和纵横比等进行设计,用于定义所需的平面图;并提出一组用于放置矩形或非矩形房间以及生成非矩形平面图边界的算法。结果表明,基于图形语法的建筑空间辅助设计的测试模型和训练模型的实际设计误差将显著减小,最小误差为0.25。研究结果可为开展绿色环保材料的公寓式住宅建筑平面设计到施工图设计的全周期智能化设计研究提供参考依据。
摘 要:随着电网对智能化要求的逐步提升,越来越多的变电站、输电线路等场景配备了专用的无人机用于安全巡检。通过搭载不同的处理器、传感器完成指定任务,无人机巡检展现出传统人工方法难以比拟的优势。然而,目前无人机本体的续航及机载处理器的性能仍难以完成较为复杂、实时性要求高的任务,例如现场作业人员的安全行为识别及预警。其问题本质在于,无人机所搭载的机载处理器由于性能、成本的限制,往往难以在保证实时性的同时完成复杂度较高的运算,例如人员行为分析。因此,本文提出了一种二阶段式的人体行为识别算法用以支撑现场安全管控,并根据算法特性构建了一种云-边计算架构,该架构能充分利用现场的计算资源,在保证行为识别准确率的基础上进一步提升算法的实时性。此外,该算法经过实验测试,结果表明本文所提方法的准确性和有效性。
摘 要:目前应用的施工现场安全监控系统没有对采集的数据进行清洗,导致数据中存在大量的脏数据,降低了系统的监控精准度和安全性。为此,改进设计了输变电施工现场安全监控系统。由交互平台、数据平台和无线传感网络基础平台构成安全监控系统的整体结构,并设计了安全监控系统的功能模块。在系统软件设计中,结合BP神经网络和K-means算法对系统采集的施工现场信息进行清洗处理,以此提高系统中数据的精度,完成安全监控系统的监控精准度。结果表明,所提方法的监控精度高,精准度在 95% 以上,安全性好。
摘 要:为提高对数字供电所变压器异常数据的识别准确性,提出一种基于气体关联分析的数字供电所变压器油色谱监测装置的偏差识别及系统搭建。首先,根据变压器油色谱监测装置中溶解气体的时序变化,采用滑动窗口算法对数据进行了曲线拟合;然后为实现数据符号化,采用 k -means算法对气体数据进行了聚类分析;最后,采用Apriori算法对气体进行关联分析,并利用数据分段细化数据区间,实现了变压器油色谱监测装置的偏差识别与定位。算例分析结果表明,所提方法可有效追踪数字供电所变压器油色谱监测装置的群体偏差,且具有一定的有效性和准确性。
摘 要:针对传统发电调度模式难以满足目前调度需求而出现的各种弊端,调度过程中工作票人工审核存在效率低、风险高等问题。本文基于双向长短期记忆网络(Bi-directional Long Short-Term Memory,BiLSTM)-条件随机场(Conditional Random Fields,CRF)的实体识别与行为树(Behavior Tree,BT)防误的智能防误算法的研究,提出一种智能防误调控一体化平台设计方案,给出平台功能框架,并在乌江实现了成功应用。通过对基于多种不同算法的实体识别模型的测试,验证结果表明:基于BiLSTM-CRF 算法的实体识别模型的优越性;基于该智能防误调控一体化平台的研究,在乌江水电开发了乌江调控一体化平台并通过了测试,验证了本设计方案和智能防误功能的可行性和有效性。
摘 要:输电线路作为电力系统中关键的组成部分,承担着能量传输和供电保障的重要任务。由于外部环境、设备故障以及人为因素等多种风险因素的存在,输电线路的运行安全面临着严峻挑战。为了准确评估和预测输电线路的风险程度,本文提出了一种基于多元数据融合模型的方法,旨在从综合场景中提取关键特征,为风险因素的分析和管理提供有效的支持和决策依据。通过在关键位置部署传感器设备和利用现有的监测系统获取与风险因素相关的数据,以及收集智能工器具设备中的实时数据,构建了具体案例分析这一基于PCA的关键特征提取风险评估模型,结果表明,多元数据融合模型对风险评估指标的有效预测能力,从而支持这一分析方法的有效性。
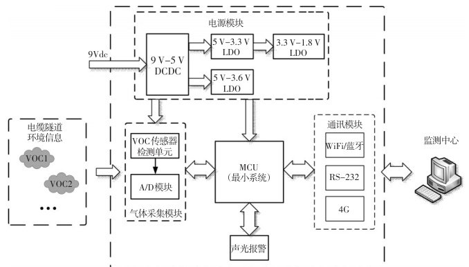
摘 要:电缆绝缘材料通常含有聚合物或橡胶等有机物,在长时间使用后会逐渐释放出挥发性有机气体(VOC),大多数VOC气体易燃易爆,浓度过高会引发电缆隧道内火灾和爆炸事件,进而导致电缆故障。为实现对电缆隧道内VOC气体的在线实时监测,本文研究了PID光离子传感器的检测原理,设计以PID光离子传感器和GD32F405RGT6芯片为核心的在线PID气体监测电缆故障预警系统,并详细阐述了预警系统的组成,主要包括单片机最小系统、气体采样电路、报警模块,串口通讯模块等单元。